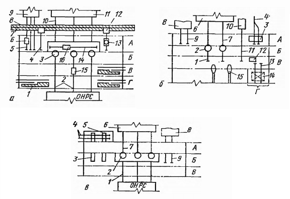
ЦЕХ А. На рисунке 1.а, показан план одного из конвертерных цехов Англии с тремя конвертерами емкостью 300 т. Главное здание состоит из четырех пролетов; загрузочного А, конвертерного Б и двух разливочных В и Г (к пролету Г примыкает ОНРС). Жидкий чугун подают в ковшах миксерного типа по рельсовому пути 7, проложенному на эстакаде 8, и сливают в заливочные ковши на двух стендах 12, от которых заливочные ковши 13 по путям 4 поступают в загрузочный пролет. В загрузочном пролете установлены два заливочных мостовых крана (400/105 т) и 120-т мостовой кран для работы совками с ломом. Лом из скрапного отделения 9 подают в загрузочный пролет по поперечным путям 5 тележками 6 с лебедочным приводом в совках емкостью 110 т.
Совки с помощью 120-т крана устанавливают на дизельную завалочную машину 16, перемещающуюся вдоль конвертеров по пути 14 загрузку лома можно также проводить непосредственно 120-т мостовым краном.
Ковши со шлаком от конвертеров по поперечным путям 10 транспортируют в шлаковое отделение 11. Ковши с жидкой сталью подают в разливочные пролеты и в ОНРС сталевозами 15 по путям 2. Для разливки стали в изложницы имеются три разливочные площадки 1. Подготовку и ремонт ковшей ведут в левой части пролета В.
Цех Б. На рисунке 1.б, показан план одного из недавно построенных японских конвертерных цехов с двумя 300-т конвертерами 2. Главное здание включает пролеты: загрузочный А; конвертерный Б; распределительный В и за ним ряд пролетов, в которых размещены МНЛЗ 15, склад и отделения зачистки литых заготовок. К пролетам МНЛЗ примыкает поперечный пролет Г для разливки стали в изложницы. В цехе имеются две установки для десульфурации чугуна, стенды для продувки аргоном, ва-кууматор 12.
Жидкий чугун поступает к переливной яме 3 в торец загрузочного пролета в миксерных ковшах по путям 4. Совки с ломом доставляют из скрапного отделения 8 по путям 9. Лом в конвертеры загружают мостовым краном. Ковши с жидкой сталью доставляют в пролет В сталевозами по путям 1 и затем мостовым краном устанавливают на поворошые стенды МНЛЗ 15 или на разливочную тележку 14, перемещающуюся по путям 13 пролета Г над составами с изложницами. Шлаковые ковши от конвертеров вывозят по рельсовым путям 7 в шлаковое отделение 6.
В цехе есть специализированное отделение 10 для ремонта сталеразливочных ковшей, куда их доставляют на тележках по пути И.
Цех В. Цех, подобный показанному на рисунке 1.в, с тремя 400-т конвертерами 2, был спроектирован Гипромезом для Оскольского металлургического завода. Главное здание имеет три пролета: конвертерный А , загрузочный Б и ковшовой В. Чугун в ковшах миксерного типа подают по продольным путям 4 в пристроенное к конвертерному пролету переливное отделение 5, где его переливают в 400-т заливочные ковши, которые по траншеям 3 транспортируют в загрузочный пролет. Для заливки чугуна и загрузки лома в загрузочном пролете установлены три мостовых крана (560—100/20).
Лом загружают одним совком емкостью 110 м3; совки подают из близко расположенного скрапоразделочного цеха 8 самоходными скраповозами по путям 9. Шлак от конвертеров транспортируют в ковшах емкостью 30 м3 самоходными шлаковозами по путям 7 в расположенное вблизи от цеха шлаковое отделение 6.
Разливка стали организована в отдельно стоящем ОНРС, куда ковши подают самоходными сталевозами по путям В ОНРС цеха предусмотрена установка стендов для продувки стали в ковше аргоном и вакууматоров.

Рисунок 1 – Планировка главных зданий ряда конвертерных цехов
Цех со 100—130-т конвертерами
Первые кислородно-конвертерные цехи в нашей стране были построены по типовому проекту Гипромеза, разработанному в 1960 г. Основные производственные отделения этих цехов следующие: главное здание, верхнее миксерное отделение, верхнее шихтовое отделение для магнитных материалов, нижнее отделение для сыпучих материалов, отделения раздевания слитков и подготовки изложниц. Главное здание (рисунок 2) состоит из четырех пролетов: загрузочного Г —Д, конвертерного В—Г и двух разливочных Б —В и А —Б. В конвертерном пролете установлены три конвертера 5 (с расстоянием между ними 18 м), фурмы 17 с механизмами их перемещения, системы загрузки сыпучих 19 и отвода и очистки конвертерных газов 18. Конвертерный и загрузочный пролеты перекрыты рабочей площадкой на высоте 8,18 м.

А —Б и Б —В – разливочный пролет, В—Г – конвертерный пролет, Г-Д – загрузочный пролет
Рисунок 2 – План и разрез главного здания конвертерного цеха со 100-130т конвертерами и разливкой стали в изложницы
Загрузочный пролет оборудован двумя мостовыми заливочными кранами 16. На рабочей площадке вдоль конвертеров проложены два железнодорожных пути 7 для чугуновозов 15 и один путь 6 для подачи совков 14 с ломом. Под конвертерами проложены поперечные ширококолейные пути 4 в сторону разливочных пролетов и пути 8 железнодорожной колеи, имеющие за пределами здания криволинейный участок для выезда на внешние пути.
В разливочных пролетах, где сталь разливают в изложницы, имеются разливочные площадки 1, разливочные пути 2, разливочные 10 и велосипедные 9 краны. В этих пролетах подготавливают и ремонтируют разливочные ковши, для обслуживания которых служат консольные краны 11. Пути 3 служат для подачи огнеупоров и уборки мусора.
Жидкий чугун подают к конвертерам по путям 7 чугуновозами 14 из расположенного рядом с загрузочным пролетом верхнего миксерного отделения. Заливочные ковши поднимают с чугуновозов и заливают чугун кранами 16. Стальной лом из отделения магнитных материалов подают в загрузочный пролет на путь 6 тележками, на которых совки 14 с ломом объемом 3,5 м3 находятся в поперечном положении. Опрокидывание совков с ломом в наклоненный конвертер осуществляют реечным механизмом, расположенным под рабочей площадкой или механизмом, смонтированным на тележке.
Сталь выпускают в ковш, установленный на сталевозе 12, который транспортирует ковш в разливочный пролет на пути 4.
Шлак сливают в ковш, установленный на несамоходном шлаковозе 13, который вывозят из цеха локомотивом по поперечно-криволинейным путям 8.
Цех Новолипецкого металлургического комбината (НЛМК) с 350 т конвертерами
Цех с тремя 350-т конвертерами включает следующие основные отделения: главное здание, верхнее миксерное, нижнее шихтовое для сыпучих материалов, ОНРС. Главное здание (рисунок 3) состоит из четырех пролетов: загрузочного В—Г, конвертерного Г —Ж, шлакового Б—В, ковшового А—Б и примыкающих к углам двух шихтовых открылков 13, расположенных между колоннами рядов Ж —У. В конвертерном пролете, который разделен вспомогательными колоннами на собственно конвертерный Г—Д к вспомогательно-энергетические Д —Е—Ж, расположены конвертеры 7 (расстояние между ними 48 м), машины для подачи кислорода с фурмами 23, система загрузки сыпучих, часть газоотводящего тракта и 80-т кран 24 для обслуживания ремонта конвертеров, фурм и котлов-утилизаторов. Газоочистка 28 расположена в пристройках 9 над электромашинным помещением 8. Рабочая площадка (+11,5 м) перекрывает загрузочный и конвертерный пролеты. Пульты 31 управления конвертерами расположены между колоннами ряда В.
В загрузочном пролете установлены два заливочных крана 11 (400+100/16т), две полупортальные машины 30 (2×130 т) для загрузки лома; на рабочей площадке проложен опорный рельс 15 полупортальных машин. Шлаковый пролет, оборудованный двумя мостовыми кранами 18 (125/30 т), служит для перестановки и вывоза из цеха шлаковых ковшей по путям 16. Ковшовый пролет с кранами 19 (125+30 т) предназначен для ремонта и подготовки сталеразливочных ковшей. Под конвертерами проложены ширококолейные пути 1, идущие через все пролеты в ОНРС. В шихтовых открылках имеются магнитные краны 4, мостовые краны 12 (130 т) с поворотной тележкой, ямные бункера 5 для лома.
Жидкий чугун подают к конвертерам чугуновозами 17 по ширококолейным путям 2 на рабочей площадке из миксерного отделения. Лом в шихтовые открылки 13 доставляют по пути 6 (около 20% россыпью с разгрузкой в бункера 5, а основную часть в совках объемом 50 м3, размещенных на платформах в продольном положении). Совки поднимают и разворачивают в поперечное положение краном 12 и устанавливают на пол открылка или на скраповоз 10. После догрузки лома в совки из бункеров 5 магнитным краном 4 скраповоз перевозит два совка по поперечному пути 14 в загрузочный пролет, где их через вырез 3 в рабочей площадке поднимает полупортальная машина 30 и транспортирует к конвертерам.
В торце конвертерного пролета на рабочей площадке расположен участок подготовки ферросплавов. Система загрузки сыпучих материалов — двусторонняя.
В пролете Е—Ж с каждой стороны конвертера установлено по четыре расходных бункера 25, материалы в которые доставляют конвейерами из шихтового отделения. На каждые два расходных бункера установлены весы-дозаторы 26 из них материалы выдаются к конвертерам (в пролет Г—Д) поперечным конвейером 27.
Сталь выпускают в ковш, установленный на сталевозе 20, который по поперечному пути 1 переезжает в ОНРС. Шлак сливают в ковши самоходного шлаковоза 21, который переезжает из-под конвертера по пути 1 в шлаковый пролет; здесь ковши со шлаком переставляют краном 18 на несамоходные шлаковозы 22 и вывозят их в шлаковое отделение по путям 16.
А-Б- ковшовый пролет, Б-В – шлаковый пролет, В-Г – загрузочный пролет, Г —Ж – конвертерного
Рисунок 3 – Главное здание конвертерного цеха Новолипецкого металлургического завода
Цех с 350-т конвертерами Западно-Сибирского металлургического комбината (ЗСМК)
В цехе установлены два конвертера. Его основные производственные отделения следующие: главное здание; отделения магнитных материалов, перелива чугуна и шлаковое; разливочное отделение с соответствующими отделениями раздевания слитков и подготовки изложниц. В отличие от прочих отечественных сталеплавильных цехов разливочное отделение расположено в отдельном здании. Главное здание (рисунок 4) включает пять пролетов: подготовки ковшей А—Б, шлаковый Б—В, загрузочный В—Г, конвертерный Г—Ж, энергетический Ж —И. В конвертерном пролете расположено то же оборудование, что в цехе НЛМЗ, в том числе кислородные фурмы 23 с машинами их перемещения, 80-т кран 22 для ремонтных работ; расстояние между конвертерами 5 равно 48 м. Газоочистка 25 размещена в энергетическом пролете.
В загрузочном пролете установлены заливочные краны 20 (400+100/20т) и полупортальные машины 19 для загрузки лома (2х130 т). Рабочая площадка 3 на высоте 11,5 м перекрывает конвертерный и часть загрузочного пролета; на ней уложен опорный рельс 6 полупортальных машин. Рабочая площадка соединена эстакадой 7 с шихтовым отделением 10 магнитных материалов. Шлаковый пролет с кранами 16 (180+50 т) и ковшовый с кранами 15 (125 + 30 т) по назначению и устройству такие же, как и в цехе НЛМЗ; в шлаковом пролете размещены пульты 17 управления конвертерами.
Жидкий чугун привозят в миксерных ковшах емкостью 420 т по путям 13 в отделение 12, где его переливают в 350-т заливочные ковши самоходных чугуновозов, которые по ширококолейным путям 14, уложенным в траншее 11, перевозят ковши в загрузочный пролет в зону действия заливочных кранов 20. В шихтовом отделении стальной лом загружают магнитными кранами в совки объемом 50 м3. Два совка специальным краном устанавливают на скраповоз 9, находящийся на эстакаде 7. Затем скраповоз по ширококолейному пути 8 эстакады перевозит совки в загрузочный пролет в зону действия полупортальной завалочной машины.
Сталь, выпущенную в ковш сталевоза 18, транспортируют в разливочное отделение по ширококолейным путям 1. По ним же самоходный шлаковоз 21 транспортирует ковши со шлаком в шлаковый пролет, откуда их вывозят по путям 2.

Конвертерный цех металлургического комбината «Азовсталь»
Основными производственными отделениями цеха, спроектированного из расчета установки в нем трех конвертеров емкостью по 400 т, являются (рисунок 5) главное здание, включающее загрузочный Д —Е, конвертерный К—З и ковшовый З —И пролеты; примыкающий к главному зданию (на расстоянии Г—Д, равном 9 м) блок, включающий шлаковую эстакаду В—Г и два шихтовых пролета Б—В и А—Б для магнитных материалов; нижнее миксер-ное отделение; совмещенное шихтовое отделение сыпучих материалов и ферросплавов и ОНРС.

В конвертерном пролете размещено то же оборудование, что и в ранее описанных цехах, в том числе фурмы 23 с машинами их перемещения и 80-т кран 24 для ремонтных работ; система газоочистки аналогична показанной на рис. 5 и целиком размещена в конвертерном пролете. Применена совмещенная система загрузки сыпучих и ферросплавов с передачей материалов к конвертерам из зоны расходных бункеров 25 по наклонным точкам 22. Расстояние между конвертерами 3 равно 36 м.
