Кислородная фурма
Кислород подают в конвертер через вертикально расположенную водоохлаждаемую фурму, которую вводят в полость конвертера через горловину строго по его оси. Давление кислорода перед фурмой составляет 1,0-1,6 МПа. Высоту фурмы над ванной можно изменять и обычно она находится в пределах 1,0-4,8 м от уровня ванны в спокойном состоянии. Поднимают и опускают фурму с помощью механизма, сблокированного с механизмом вращения конвертера. Конвертер нельзя повернуть, пока из него не удалена фурма. Скорость подъема и опускания фурмы изменяется в пределах 0,1-1 м/с.
Применяемые в современных кислородных конвертерах многосопловые фурмы выполняют из трех концентрично расположенных стальных труб, снабженных внизу головкой (наконечником) с соплами. Полости, образованные трубами, служат для подачи к головке кислорода, подвода и отвода охлаждающей воды. Для конвертеров вместимостью от 150 до 350 т длина фурм находится в пределах от 16 до 26 м.
Известны две разновидности конструкции фурм: с центральной подачей кислорода (рисунок 1,а) и с центральной подачей воды (рисунок 1,б). Чтобы избежать разрушения фурмы в результате напряжений, вызываемых различным тепловым расширением труб (наружная труба удлиняется сильнее, чем более холодные внутренние), в фурме предусматривают компенсирующие устройства. В фурмах с центральным подводом кислорода на внутренней трубе устанавливают сильфонный компенсатор (гофрированный металлический шланг) в
сочетании с телескопическим соединением на средней трубе (рисунок 2), либо предусматривают подвижное сальниковое уплотнение вверху наружной трубы в сочетании с сильфонным
компенсатором на внутренней трубе (см. рисунок 1,а) .
В фурмах с центральным подводом водыустанавливают сильфонные компенсаторы на внутренней и средней трубах (см рисунок 1,б)

1—3 — стальные трубы, 4 — сальниковое уплотнение, 5 — патрубки для подачи кислорода и воды,
6 — компенсатор, 7 — сменная часть наружной трубы, 8 — головка фурмы, 9 — сопло, 10 — выемка
Рисунок 1 – Многосопловые кислородные фурмы с центральной подачей кислорода (а) и воды (б)

1 — сопло Лаваля (медь) 2 — наружная тарелка (медь), 3 — распределитель воды, 4 — стальной патрубок, 5 — внутренняя тарелка,
6 — телескопическое соединение, 7 — компенсатор, 8—10 — стальные трубы 11 — места сварки при смене головки
Рисунок 2 – Сварная головка многосопловой фурмы
Головка фурмы является сменной. Головки выполняют сварными из медных и стальных элементов и в некоторых случаях литыми из меди. Сварная головка (см. рисунок 2) включает наружную тарелку 2 с патрубком 4 , внутреннюю тарелку 5, вваренные в тарелки сопла 1 и распределитель воды 3. Головку обычно соединяют с трубами сваркой, места сварки при
смене головки показаны на рисунке 1. Применяют также головки, соединяемые резьбой с внутренней и сваркой с наружной трубами фурмы.
Сопла и нижнюю тарелку сварных головок, обращенные в конвертере к зоне наиболее высоких температур (до 2600°С) выполняют из меди. Медь имеет низкую температуру плавления (1083°С), но благодаря высокой теплопроводности обеспечивает быстрый отвод и передачу тепла охлаждающей воде, поэтому даже в зоне высоких температур головка не перегревается и сохраняет прочность Для изготовления головок применяют бескислородную медь марок М-0, М-1, сварку головок ведут под защитным газом.
Современные фурмы имеют в головке от четырех до шести-семи выходных сопл Лаваля, которые преобразуют энергию давления кислорода в кинетическую и обеспечивают сверхзвуковую скорость кислорода (~500 м/с) на выходе из сопла. Сопла располагают в головке веерообразнорасходящимися. Рекомендуемые углы наклона оси сопл к вертикали ∝ (рисунок 1) приведены ниже:

Воду для охлаждения фурм подают под давлением 0,8—1,2 МПа. Расход воды рассчитывают таким образом, чтобы перепад температур воды на входе и выходе не превышал 30 °С,
для предотвращения выпадения из воды солей жесткости. По этой же причине карбонатная жесткость применяемой воды не должна превышать 70 мг экв/кг. Скорость воды во внешней
трубе фурмы должна быть ≥5 м/с для предотвращения образования паровых пузырей. Максимальный расход воды на охлаждение фурмы конвертеров вместимостью 160, 250, 300 и 350т составляет соответственно 175, 250, 350 и 500 м3/ч. Стойкость головок фурм составляет 50—150 плавок.
Срок службы головки зачастую определяется прогаром центральной части наружной тарелки и разгаром выходных кромок сопл. В первом случае необходимо улучшить охлаждение центральной части тарелки путем совершенствования конструкции распределителя (рис. 2), направляющего сюда воду, а также повышением давления и расхода воды. Повышению
стойкости способствует устройство выемки в центральной части тарелки. Разгар выходных кромок сопл указывает на то, что при данных давлении и расходе кислорода велик диаметр
выходного сечения сопл. Струя кислорода при этом расширяется в сопле и отрывается от его стенок, а в образующиеся зоны разрежения засасываются капли металла, вызывающие
износ кромок. В связи с этим следует уменьшать выходное сечение сопл, чтобы кислородная струя не полностью расширялась в сопле.
На отечественных заводах традиционно применяют фурмы с центральной подачей кислорода. Недавно на 250-т конвертерах металлургического комбината им. Дзержинского опробованы фурмы с центральной подачей воды; стойкость головок вследствие лучшего при этом их охлаждения оказалась в два раза большей, чем у фурм с центральной подачей кислорода.
В настоящее время успешно конструируют и эксплуатируют фурмы с числом сопл от четырех до шести. При семи и большем числе сопл сложная по конструкции головка быстро разрушается под воздействием термических напряжений. Поскольку увеличение числа сопл позволяет проводить продувку без выбросов при повышении расхода кислорода, разрабатывают и опробуют головки с числом сопл, превышающих шесть-семь.
Основные размеры сопл Лаваля определяют расчетом, так чтобы они обеспечивали сверхзвуковую (~500 м/с) скорость истечения кислорода; для этого давление кислорода перед
соплом должно быть 1,0—1,2 МПа и более. Диаметр критического (минимального) сечения сопла Лаваля (рисунок 3) можно, определить по формуле, мм:

Рисунок 3 – Сопло Лаваля
Угол раскрытия β сопла составляет 6—10°; диаметр выходного сечения dвых равен 1,2—1,5 dкр ; длина расширяющейся части равна l=(dвых — dкр)/2+g(β/2).
Внутренний диаметр кислородопроводящей трубы фурмы (Dт ) определяют из выражения Dт > dкр √3n, где dкр — диаметр критического сечения выходных сопл Лаваля; n — число
сопл в фурме.
Машины подачи кислорода
Машина подачи кислорода в конвертер (МПК) обеспечивает удержание кислородной фурмы во время продувки, ее опускание в конвертер и подъем, а также перемещение фурмы в горизонтальной плоскости для ее замены. МПК располагают на металлоконструкциях здания цеха над конвертерами на такой высоте, чтобы при подъеме фурмы обеспечивался ее вывод из кессона ОКГ (охладителя конвертерных газов).
В старых цехах со 130—160-т конвертерами применяют стационарные, а в современных цехах с большегрузными конвертерами — передвижные МПК. Передвижная машина
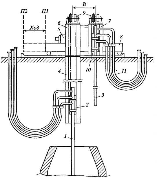
(рисунок 4) включает перемещаемую в горизонтальном направлении платформу 9 , имеющую реечный механизм передвижения и вертикально расположенную по оси конвертера стационарную направляющую 4. На платформе расположены две короткие направляющие 6 и 8, перемещаемые по ним каретки 2 и 10 с закрепленными на них фурмами (рабочей 1 и резервной 3 ) и два канатных механизма подъема-опускания фурм. Каретку с фурмой поднимают и опускают при помощи электродвигателя и канатов, перекинутых через блоки 7.
Машина является двухпозиционной. При положении платформы в позиции П1 совмещены направляющие 6 и 4 и по ним каретка 2 опущена в нижнее положение, т. е. фурма введена в конвертер. При необходимости замены фурмы 1 поднимают каретку 2 в верхнее положение и передвигают платформу в положение П2 на расстояние, равное расстоянию Б между фурмами. При этом совмещаются направляющие 8 и 4 и по ним опускают каретку 10 , вводя в конвертер фурму 3. Фурма при этом отведена в резервное положение.
Для строящихся цехов разработаны трехпозиционные машины, обеспечивающие возможность поочередного опускания в конвертер двух продувочных фурм и вертикальной торкрет-фурмы.
1 – кислородная фурма, 2,10 – каретка, 3 – резервная фурма, 4 – стационарная направляющая, 5- механизм подъема опускания фурмы,
7 – блоки, 6, 8 — короткие направляющие привода механизма подъема опускания фурмы, 9 — платформа, 11 — металлорукав
Рисунок 4 – Передвижная машина подачи кислорода
