Для нормального хода плавки уровень шихты в вагранке должен находиться в постоянных пределах (в шахте должно находиться 8-10 колош).
Снижение высоты столба шихты ниже этих пределов отражается на дутьевом режиме и, следовательно, на горении топлива. Кроме того, уменьшается прогрев верхних металлических колош, и они плавятся за счет усиленного выгорания кокса холостой колоши.
Без контроля уровня шихты невозможна также нормальная работа бадьевых или скиповых подъемников. В схемах автоматической загрузки указатель уровня шихты является датчиком включения подъемника на завалку очередной колоши.
Существует несколько способов контроля высоты столба шихтовых материалов.
Контактный уровнемер
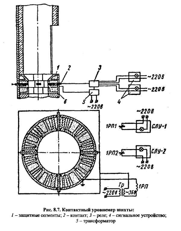
Контактный уровнемер (рис. 8.7). В защитных сегментах 1 верхней части шахты вагранки делают четыре диаметрально расположенные отверстия, в которые вставляются изолированные от садки и кожуха 6 вагранки медные контакты 2.

После опускания шихты ниже уровня расположения контактов электрическая цепь размыкается, срабатывает реле 3 и включаются сигнальные устройства 4. Питание схемы осуществляется из сети переменного тока (напряжение 220 В) через подающий трансформатор 5 типа Т-150. Сигнальными устройствами могут быть стандартные приборы СЛУ-1. Один из них устанавливается на пульте управления вагранки, другой – на рабочем месте завальщика.
В схемах автоматической загрузки предусматривается также задача импульса на включение подъемника. Расположение контактов в четырех точках по периметру шахты обеспечивает работу даже при неравномерном распределении шихты по сечению вагранки.
Контроль уровня шихты U-образным манометром
Этот способ основан на том, что при изменении высоты столба шихтовых материалов в вагранке меняется сопротивление, которое должны преодолеть газы, поднимаясь в шахте. Соответственно этому меняется и давление газов в шахте.
Давление фиксируется манометром, подключенным на 1-2 м ниже завалочного окна. С этой целью в футеровке делается отверстие и манометр 2 через штуцер 1 (рис. 8.8) соединяется с шахтой вагранки. При полной загрузке вагранки давление газов в точке отбора имеет какую-то величину h. Когда шихта опустится до уровня замера, давление равно нулю. Промежуточные значения высоты столба шихты создают различные давления газов, расположенные между h и 0.

Для преобразования показаний манометра в электрический сигнал манометр заполняется электролитом: пятинормальный раствор серной кислоты с плотностью 1140 г/м3 и удельным электросопротивлением 0,68 Ом1см-2. Колено манометра, соединенное с атмосферой через боковые вырезы в резиновой пробке 4, выполнено в виде раструба 3. Через пробку вставляют два платиновых электрода 5 с таким расчетом, чтобы их концы находились немного ниже уровня рабочей жидкости манометра. Электроды включаются в цепь переменного тока (напряжение 12 В). После опускания шихты на высоту одной колоши давление газов уменьшается, электролит, опустившись в манометре, размыкает цепь и лампочка гаснет. Это является сигналом для загрузки очередной колоши.
Следует отметить, что точность работы этого прибора зависит от плотности шихты.
Контроль уровня шихты при помощи радиоактивных изотопов
Для этой цели могут быть использованы выпускаемые промышленностью индикаторы уровня типа РИУ-1 и др.
Принцип работы таких указателей приведен на рис. 8.15. В вагранках диаметром до 1100 мм достаточно силы излучения 50 мкюри; в этом случае допускается пребывание человека на расстоянии 1 м от источника изотопов в течение 4-8 ч в неделю.
Контроль уровня шихты при помощи механического (штангового) уровнемера
Рассмотрим устройство штангового уровнемера, разработанного ЦНИИТМАШ (рис. 8.9). Ниже загрузочного окна (или загрузочного устройства у вагранок закрытого типа) в кожухе и футеровке шахты делают отверстие под углом 45° к оси вагранки, через которое периодически вводится штанга.

Приводом является пневмоцилиндр, шток которого шарнирно соединен со штангой. В случае опускания шихты ниже заданного уровня штанга беспрепятственно опускается на величину хода поршня пневмоцилиндра. Подходя к крайнему нижнему положению, шток пневмоцилиндра включает путевой выключатель, который подает сигнал на загрузку очередной колоши. Одновременно дается импульс на втягивание штока пневмоцилиндра, и штанга выходит из шахты. В конструкции предусмотрены уплотнения для предотвращения подсоса воздуха и выбивания газов через отверстия для штанги.
На предприятии в равной степени может быть осуществлена любая из рассмотренных схем в зависимости от имеющихся приборов и оборудования.
