Доставка и загрузки лома.
Расход стального лома (скрапа) в кислородных конвертерах при работе без его подогрева не превышает 25—28% от массы металлической шихты. Лом загружают в конвертеры совками (лотками). По проекту первого отечественного цеха лом в 100—130-т конвертеры предусматривалось загружать совками объемом 3,5 м3: их количество на одну плавку достигало пяти, а длительность загрузки 7—10 мин. Во вновь сооружаемых цехах ставится задача обеспечить загрузку лома одним (реже двумя) совком: при насыпной массе лома около 1т/м3 объем совка в этом случае для большегрузных конвертеров достигает 110—120м.
Доставка лома.
Стальной лом загружают в совки в шихтовых отделениях или пролетах и иногда в скрапоразделочных цехах, откуда совки доставляют в загрузочный пролет. Совки емкостью от 9 до 110 м3 имеют длину 6,5—14,5 м, в связи с чем при транспортировке они должны располагаться вдоль рельсовых путей; совки объемом 50—70 м3 можно перевозить железнодорожным транспортом, а для совков объемом 100—120 м3 необходимы ширококолейные пути и соответственно самоходные рельсовые тележки. Во время загрузки наклоняемый совок должен быть расположен поперек загрузочного пролета, поэтому при доставке совков по продольным путям необходим их разворот на 90 град.
В существующих цехах можно выделить следующие способы доставки совков с ломом в загрузочный пролет:
- из верхнего шихтового отделения по продольной рельсовой эстакаде в торец загрузочного пролета, где краном совки устанавливают на поворотные круги и с их помощью разворачивают в поперечное положение;
- из нижнего шихтового отделения или скрапоразделочного цеха по продольным путям в перестановочный пролет, где совки краном с поворотной тележкой разворачивают в поперечное положение, догружают в них лом из ямного бункера и затем по поперечным путям доставляют в загрузочный пролет см. пример конвертерного цеха Новолипецкого металлургического завода (НЛМК);
- в перестановочном пролете отсутствуют ямные бункера и догрузка лома в совки или в перестановочном пролете совки краном устанавливают на поворотные круги, с которых совки после разворота выдаются на поперечные пути;
- из скрапного отделения автотягачами, позволяющими разворачивать совки в нужное положение на небольшой площади;
- из шихтового отделения по поперечным рельсовым эстакадам на уровне рабочей площадки загрузочного пролета (см. пример конвертерного цеха на Западно-Сибирском металлургическом комбинате);
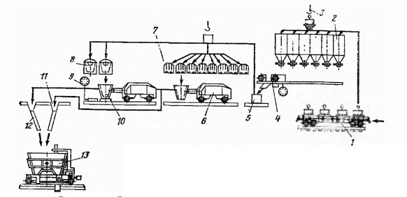
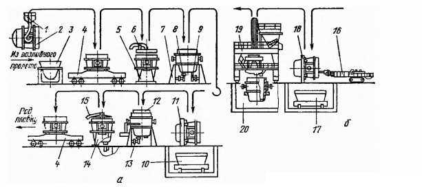
- из шихтового пролета (см. пример конвертерного цеха металлургического комбината «Азовсталь») или отделения (см. пример главных зданий ряда конвертерных цехов рисунок а,б) , по поперечным путям на нулевой отметке;
- из близко расположенного скрапоразделочного цеха по поперечным ширококолейным путям на нулевой отметке;
- загрузка лома в совки магнитным краном из ваговов непосредственно в торце загрузочного пролета.
Из рассмотренных способов наиболее рациональной является подача совков с ломом в загрузочный пролет скраповозом по поперечным рельсовым путям на нулевой отметке из близко расположенного скрапоразделочного цеха. Преимущества этого способа следующие:
- не требуется сооружение шихтового пролета или отделения и уменьшается число перегрузок лома;
- не требуются перестановочные отделения и оборудование для разворота совков (поворотные круги, специальные краны);
- не требуется сооружения высоких эстакад для перевозки совков на уровне рабочей площадки; рабочая площадка загрузочного пролета может быть выполнена облегченной.
Скрапоразделочный цех должен быть расположен вблизи загрузочного пролета с тем, чтобы ширококолейные поперечные пути не создавали помех другому транспорту. При доставке совков с ломом в два противоположных конца загрузочного пролета ( как показано напримере конвертерного цеха Новолипецкого металлургического завода) облегчается их подача к конвертерам, но усложняются другие проектные решения и в большинстве цехов применяют одностороннюю подачу лома.
Загрузку лома
Ведут напольными и полупортальными машинами и мостовыми кранами. Достоинство напольных машин в том, что собственно процесс загрузки не зависит от работы кранов; недостатки — машины вследствие больших габаритов загромождают загрузочный пролет, задалживаются краны для установки совков на машину и их снятия, утяжеляется рабочая площадка пролета. Поэтому во вновь сооружаемых цехах напольные машины почти не применяются.
Полупортальные машины работают независимо от заливочных кранов и не загромождают рабочую площадку пролета; недостатком их является необходимость утяжеления рабочей площадки и то, что нельзя загружать лом одним совком. Конструкция машины позволяет применять совки ограниченных размеров: для загрузки требуемого количества лома (до 30%) требуются два совка.
На некоторых заводах лом загружают с помощью заливочных кранов. Этот способ не принято считать рациональным, так как вследствие повышения интенсивности работы снижается надежность действия заливочных кранов, работающих в тяжелых условиях в зонах интенсивного тепловыделения над конвертерами.
Применяются также специализированные завалочные краны, грузоподъемность которых значительно ниже, чем заливочных. Для новых цехов рациональным считают применение мостовых завалочных кранов с загрузкой лома одним совком. В результате их применения по сравнению с полупортальными машинами сокращается за счет загрузки лома одним совком длительность плавки на 1 мин, что ведет к увеличению производительности конвертера примерно на 2%; упрощается организация работ за счет уменьшения числа совков; возможно сооружение облегченной рабочей площадки загрузочного пролета. Определенным недостатком этого решения является усложнение работы при остановке среднего крана на ремонт.
Основное оборудование.
Напольные машины рассчитаны на установку на них одного и реже двух совков и перемещаются по рельсам вдоль или поперек загрузочного пролета. Машина обычно включает самоходную тележку (электрическую или дизельную) и смонтированные на ней поворотные лафеты, люльки и другие устройства для кантования совков.

1 – рельс, 2 – нижние ходовые колеса, 3 – два привода (для верхних и нижних колес), 4 – полупортал, 5 – две тележки , 6 – верхние колеса, 7 – колонны здания, 8 – грузозахватное устройство, 9 – совок
Рисунок 1. – Полупортальная загрузочная машина
Полупортальные машины (краны) поднимают сразу два совка и последовательно загружают из них лом в конвертер. Несущая часть машины (рис. 1) — полупортал 4, опирающийся нижними ходовыми колесами 2 на рельс 1 на рабочей площадке и верхними колесами 6 на колонны 7 здания.
Машина имеет два привода 3 перемещения моста (для верхних и нижних колес). По полупорталу передвигаются две тележки 5, каждая из которых имеет два механизма подъема, обеспечивающих подъем и наклон совков 9 с помощью грузозахватного устройства 8, снабженного четырьмя крюками; для машиниста имеется кабина 10. Полупортальные машины выпускаются грузоподъемностью 90 и 130т для конвертеров емкостью 250 и 350—400т; объем совков составляет 37 и 50м3 соответственно.
Завалочный кран, предназначенный для загрузки лома одним совком, включает мост с механизмом его передвижения вдоль цеха по тем же подкрановым путям, что и заливочные краны, и передвигающуюся по мосту тележку, снабженную двумя механизмами подъема, которые обеспечивают подъем и кантование совка с помощью грузозахватного устройства, имеющего четыре крюка. За рубежом применяют краны, оборудованные двумя перемещающимися по мосту тележками; такими кранами поднимают одновременно два совка.
Подача и заливка чугуна
Во всех конвертерных цехах чугун заливают в конвертеры мостовыми заливочными кранами, причем емкость заливочного ковша и грузоподъемность крана выбирают такими, чтобы обеспечивалась заливка одним ковшом. Доставляют чугун из доменного цеха с использованием стационарных миксеров или ковшей миксерного типа. Известен также способ доставки в открытых чугуновозных ковшах с переливом из них чугуна в заливочные.
Стационарные миксеры в зарубежных цехах часто устанавливают в торце загрузочного или конвертерного пролетов, причем иногда сливают чугун из миксера в заливочный ковш, висящий на крюках заливочного крана. В отечественных цехах с целью улучшения условий труда сооружают отдельные здания миксерных отделений, а для доставки из них ковшей с чугуном в загрузочном пролете предусматривают два рельсовых пути.
Во вновь сооружаемых цехах предпочтение отдают доставке чугуна ковшами миксерного типа. Переливное отделение (участок) располагают в торце загрузочного пролета, в пристраиваемом к нему пролете и в редких случаях в отдельном здании. В зависимости от плана завода пути миксерных ковшей в отделениях перелива могут располагаться вдоль загрузочного пролета или в поперечном направлении.
Чугун обычно доставляют в один из торцов загрузочного пролета, что обеспечивает нормальную работу цеха. В редких случаях применяют двустороннюю подачу чугуна, однако это усложняет другие проектные решения. Пути доставки миксерных ковшей обычно располагают на нулевой отметке. Лишь в отдельных случаях с учетом местных условий допустимо сооружение дорогостоящих эстакад.
Перед заливкой чугуна в конвертер необходимо скачать из заливочного ковша шлак, попадающий из миксерного ковша или миксера, поскольку этот шлак обычно содержит много серы.
Чаще всего скачивание шлака ведут в торце загрузочного пролета машиной гребкового типа из ковшей, удерживаемых и наклоняемых заливочным краном. При таком способе не обеспечивается полное удаление шлака и задалживается кран, в связи с чем разрабатываются новые способы и оборудование для выполнения этой операции.
Системы подачи и загрузки в конвертер сыпучих материалов
В большей части отечественных и зарубежных конвертерных цехов применяют сходные системы подачи и загрузки сыпучих материалов, которые включают расположенную над конвертером автоматизированную систему загрузки и тракт подачи материалов в расходные бункера загрузочной системы.
Подача материалов в расходные бункера.
Расходные бункера системы загрузки сыпучих располагают над конвертерами на высоте 35—55м от уровня пола цеха. Материалы в эти бункера подают ленточными конвейерами — известь из известковообжигательного отделения, а остальные материалы из шихтового. При большом расстоянии до этих отделений вблизи главного здания цеха сооружают приемные бункера, в которые материалы доставляют железнодоржными вагонами или автосамосвалами.
Из приемных бункеров материалы транспортируют в расходные бункера конвейерной системой.
В зарубежных цехах небольшой производительности для доставки материалов в расходные бункера из приемных иногда применяют скиповые подъемники и транспортировку в бадьях мостовыми кранами, монорельсовыми тележками, подвесными дорогами и т. п. Однако эти системы подачи обладают значительными недостатками — малой производительностью, выделением пыли при открытых перегрузках, мало приспособлены для автоматизации.
Устройство конвейерной системы подачи материалов в расходные бункера рассмотрим на примере системы, примененной в конвертерном цехе металлургического завода «Азовсталь» (рисунок 2).

Рис. 2. Схема подачи сыпучих материалов в расходные бункера конвертерного цеха
Из бункеров 6 шихтового отделения материалы доставляют к расходным бункерам 1 двумя конвейерными трактами, каждый из которых состоит из трех ленточных конвейеров 2; материалы с одного конвейера на другой перегружают с помощью воронок 5 и двухрукавных течек 4. Течки 4 снабжены перекидными шиберами, что позволяет передавать материалы с одного тракта на другой; это повышает надежность работы системы. Материалы из бункеров 6 выдают на конвейерные ленты с помощью электровибрационных питателей, а с ленты разгружают в бункера 1 передвигающимися вдоль лент автоматическими сбрасывающими тележками 3. Конвейеры расположены в закрытых галереях, места перегрузки снабжены устройствами для улавливания пыли.
Система загрузки материалов в конвертер
должна обеспечивать хранение оперативного запаса материалов: набор, дозирование и загрузку порций материалов в определенное время и в определенной последовательности без остановки продувки; возможность быстрого варьирования программы загрузки/автоматизацию всех выполняемых процессов; малое выделение пыли в атмосферу цеха и в газоотводящий тракт.
Системы загрузки различаются устройством, числом и компоновкой отдельных элементов, бывают одно- и двусторонние, с индивидуальными и общими для двух конвертеров расходными бункерами, с промежуточными бункерами и без них. В отечественных цехах не применяют системы с общими для двух конвертеров расходными бункерами, так как они не обеспечивают независимость работы конвертеров и обладают меньшей надежностью.
Не применяются и системы с загрузкой материалов в конвертер без промежуточных бункеров непосредственно из весов-дозаторов, так как последние в этом случае должны иметь большой объем, что уменьшает точность взвешивания.
Проектом цеха для 100—130-т конвертеров предусматривалась односторонняя система загрузки (рис. 3), включающая два расходных бункера для извести и по одному для плавикового шпата и железной руды. Сыпучие материалы из шихтового отделения подают ленточным конвейером 8 и разгружают в расходные бункера 6 с помощью передвижного реверсивного конвейера 7. Из расходных бункеров известь передают ленточными питателями 4, а другие материалы электровибрационными питателями 5 в весы-дозатор 3, далее поперечным ленточным конвейером 9 в промежуточный бункер 2 и из него по выдвижной наклонной течке 1 в конвертер.

Рисунок 3. – Схема системы загрузки сыпучих материалов в цехе со 100-130т конвертерами
В дальнейшем на основании опыта эксплуатации системы загрузки сыпучих совершенствовались в первую очередь за счет увеличения числа и емкости расходных бункеров; обеспечения самопроизвольного перемещения материалов по наклонным течкам; увеличения числа весов-дозаторов и уменьшения их грузоподъемности, что позволило повысить точность взвешивания и сократить его длительность за счет работы нескольких дозаторов; внедрения системы отсева мелочи извести; применения закрытых трубчатых течек, что уменьшило пылевыделение; герметичного соединения течек с газоотводящим трактом и установки на течках отсечных устройств для герметизации газоотводящего тракта; устройства двусторонней системы загрузки, что повысило производительность и оперативность системы и ее надежность.
Для новых цехов можно рекомендовать систему загрузки, схожую с объединенной системой загрузки сыпучих в конвертер и ферросплавов в сталеразливочный ковш, разработанную Укргипромезом для цеха с 350-т конвертерами завода «Азовсталь».
Система загрузки (рис. 4) двусторонняя — с обеих сторон конвертера 2 расположены одинаковые линии загрузки, каждая из которых включает загрузочную течку 4, промежуточный бункер 6 и связанные с ними группу расходных бункеров 11 и другого оборудования. На каждый конвертер предусмотрено десять расходных бункеров: четыре бункера И для извести, два для плавикового шпата П и по одному для известянка Из, агломерата А , железной руды Р и кокса К- Бункера рассчитаны на хранение 700 т извести, 600 т плавикового шпата, 1050 т руды, 1200 т агломерата и окатышей, 1150 т известняка и 50 т кокса. Каждые один или два расходных бункера снабжены отдельными весами-дозаторами 8 с объемом бункера 6 м3 и пределами взвешивания 0,5—5 т.
Система загрузки сыпучих работает следующим образом. Материалы доставляют к расходным бункерам И двумя ленточными конвейерами 12 и разгружают в бункера передвижными автоматическими сбрасывающими тележками. Из расходных бункеров известь с помощью электровибрационных грохотов 9У а остальные материалы с помощью электровибрационных питателей 10 выдаются в соответствующие весы-дозаторы S, а из них путем от крывания затворов через трубчатые течки 7 в промежуточные бункера 6. Набранную здесь шихту через воронки 5 по трубчатым течкам 4 загружают в конвертер; воронки 5 снабжены отсечным устройством, герметизирующим газоотводящий тракт. На электровибрационных грохотах происходит отсев мелочи извести, которая по трубчатым течкам поступает на вибрационный конвейер 13у транспортирующий ее в сборный бункер 14. Далее мелочь извести по трубчатым течкам подают в сталеразливочный ковш (через весы-дозатор 22) или в специальные емкости 26 для вывоза из цеха.
В системе загрузки установлен реверсивный конвейер 21, позволяющий транспортировать известь из-под весов-дозаторов одного конвертера в случае его остановки в промежуточные бункера 6 другого. Между весами-дозаторами 8 и электровибрационными питателями или грохотами 9 или 10 установлены пылеудалители, представляющие собой камеру, в которую снизу поступает подаваемый вентиляторами воздух, который уносит пыль в систему газоочистки. Наличие пылеудалителей предотвращает выделение пыли при дальнейшей транспортировке материалов, повышает точность дозирования, уменьшает вынос пыли отходящими из конвертера газами. Работа системы загрузки управляется автоматически.

Подача ферросплавов в сталеразливочный ковш
Система подачи ферросплавов в ковш должна отвечать общим требованиям, предъявляемым к транспортным системам, и, кроме того, обеспечивать подачу ферросплавов несколькими порциями в определенной последовательности, их прогрев и иногда расплавление.
Существующие системы подачи ферросплавов отличаются многообразием и по мере накопления опыта совершенствуются. В первых отечественных цехах со 100—130-т конвертерами ферросплавы доставляли в саморазгружающихся бадьях и разгружали в расходные бункера, расположенные в торце загрузочного пролета.
Из бункеров их выдают в саморазгружающие бадьи, установленные на весах; далее бадьи тельфером подают к одному из трех бункеров, расположенных у каждого конвертера. Во время выпуска стали ферросплавы из этого бункера выдаются на ленточный конвейер, а с него через поворотную течку попадают в ковш.
Эта система не обеспечивала автоматизацию подачи ферросплавов, их нагрев и расплавление, затруднена была корректировка массы добавок, а электротельферы, конвейеры и поворотные течки недостаточно надежны.
В некоторых ранее строившихся отечественных конвертерных цехах применены (рис. 5) более совершенные системы подачи ферросплавов.

Рисунок 5. – Схема подачи ферросплавов в ковш в конвертерном цехе НЛМК
На рабочей площадке в торце конвертерного пролета расположены шесть расходных бункеров, восемь печей для прокаливания ферросплавов и две индукционные печи для их расплавления. Сплавы подают в цех на платформе 1 в бадьях и разгружают краном 3 в расходные бункера 2. Из них сплавы с помощью весовой тележки 4 выдают в контейнеры 5, которые краном подают к печам для прокаливания 7 или индукционным печам 8.
Прокаленные сплавы из печей 7 выгружают в контейнер, который электропогрузчиком 6 доставляют к конвертеру. Здесь их высыпают в специальный лоток, разделенный на секции поворотными перегородками. Во время выпуска металла лоток наклоняют и порции разных ферросплавов последовательно высыпаются из него и через течку 11 попадают в ковш 13. Расплав из печи 8 выпускают в установленный на весах 9 ковш 10. Далее ковш напольной машиной перевозят к конвертеру и сливают сплав через футерованную течку 12 в сталеразливочный ковш.
В настоящее время наиболее рациональным считают создание системы подачи ферросплавов, совмещенной с системой подачи сыпучих материалов в конвертер. Подобная система, примененная в конвертерном цехе завода «Азовсталь», показана на рис. 4.
Расходные бункера для ферросплавов в этой системе расположены в одном ряду с расходными бункерами для сыпучих, а ферросплавы в бункера доставляют по конвейерному тракту подачи сыпучих материалов из общего шихтового отделения.
Каждый конвертер оборудован двумя трактами подачи в ковш твердых ферросплавов из расходных бункеров (Ф), расположенных симметрично с двух сторон конвертера.
Общее число расходных бункеров на один конвертер составляет восемь, что позволяет применять до восьми видов ферросплавов. Каждый из трактов работает следующим образом. Из расходных бункеров ферросплавы через электровибрационный питатель поступают в весы-дозаторы 15 для ферросплавов, а из них с помощью электровибропитателя в двухрукавную течку 17, два рукава которой позволяют подавать материалы к двум печам 13 для прокаливания ферросплавов. Под рукавами двухрукавной течки 17 установлены качающиеся течки 19, которые направляют поток материалов либо в печи 18, либо непосредственно и воронку 20. Прокаленные ферросплавы путем наклона пода печи высыпаются также в воронку 20. Из этой воронки прокаленные или холодные ферросплавы поступают в весовой дозатор 22 и далее по течке 3 в ковш 1.
Имеется также самостоятельный тракт подачи в ковш жидких ферросплавов. Из расходных бункеров (ФЖ) через весы-дозатор ферросплавы с помощью тележки 16 и трубчатой течки подаются в тележку 23, которая загружает их в одну из индукционных печей 24. Расплав выпускают в установленный на самоходной тележке ковш 25, а из него по футерованной течке 27 сливают в сталеразливочный ковш.
Систему подачи и загрузки ферросплавов подобного типа можно рекомендовать для новых цехов. Преимущества этой системы следующие: уменьшаются эксплуатационные расходы и упрощается организация работ в цехе, так как не требуется самостоятельная система доставки ферросплавов в расходные бункера; в трактах подачи твердых ферросплавов обеспечена полная механизация и автоматизация всех работ; возможны быстрая подача большого числа ферросплавов и корректировка массы подач.
Выпуск и передача стали на разливку
Во всех конвертерных цехах применяют одинаковую схему выпуска стали и ее передачи к месту разливки. Сталь выпускают в ковш, установленный на сталевозе, который передвигается по поперечным ширококолейным путям, проложенным под конвертером, и транспортирует ковш в ОНРС или разливочный пролет.
Сталевоз (рис. 6) представляет собой самоходную платформу и имеет два механизма передвижения с электродвигателями постоянного тока. Ток подводят через токосъемник от троллеи, уложенных в специальном тоннеле, расположенном вдоль рельсового пути. Грузоподъемность сталевозов для 280—530-т ковшей составляет 400 и 450 т, ширина колеи 4800 мм.

1- держатель токосъемников; 2— ковш; 3— тележка; 4 — скребок; 5- ходовое колесо
Рисунок 6. – Сталевоз для ковша емкостью 350 т:
Уборка шлака
В существующих отечественных и зарубежных цехах применяют много различных способов уборки (вывоза) шлака из цеха:
- через загрузочный или разливочный пролеты, куда шлаковые ковши от конвертеров доставляют на тележках по поперечным рельсовым путям и где их краном переставляют на автошлаковозы или продольные рельсовые пути для вывоза из цеха или сливают шлак в ямы и вывозят из цеха после застывания;
- автошлаковозами, снабженными механизмом снятия шлаковых ковшей с поперечных тележек, выдающих ковши из-под конвертеров;
- несамоходными шлаковозами по поперечным путям железнодорожной колеи с выездом за пределами цеха на внешние железнодорожные пути (см. пример главного здания конвертерного цеха со 100-130т конвертерами и разливкой стали в изложницы );
- через шлаковый пролет, куда шлаковые ковши доставляют от конвертеров самоходными шлаковозами по ширококолейным поперечным путям и где ковши переставляют на продольные пути вывоза из цеха (см. примеры главных зданий конвертерных цехов НЛМК, ЗСМК, «Азовсталь» );
- самоходными шлаковозами по ширококолейным поперечным путям от конвертеров непосредственно в расположенное рядом шлаковое отделение (см. пример планировок главных зданий ряда конвертерных цехов).
Первый из перечисленных способов в отечественных цехах не применяют в связи с усложнением работ в загрузочном и разливочном пролетах и ухудшением санитарных условий при сливе шлака в ямы; второй — поскольку не налажено производство автошлаковозов. В первых отечественных цехах (см. пример главного здания конвертерного цеха со 100-130т конвертерами и разливкой стали в изложницы) шлаковые ковши от конвертеров вывозили по путям железнодорожной колеи, которые под конвертером размещались внутри ширококолейных путей сталевоза. При этом, как показал опыт, нельзя было механизировать уборку выбросов шлака и металла и просыпи шихтовых материалов с путей.
Позже стали использовать ширококолейные шлаковозы, перемещающиеся по тем же путям, что и сталевоз (колея 4800 мм).
Это позволило сделать между рельсами вдоль всего пути корытообразный желоб глубиной 0,5 м и механизировать уборку мусора путем перемещения его по желобу с помощью закрепленного на сталевозе или шлаковозе скребка в контейнер, устанавливаемый в приямке под рельсовыми путями.
Из двух перечисленных способов уборки ширококолейными шлаковозами рациональным считается вывоз ковшей в близко расположенное шлаковое отделение. При этом не требуется шлаковый пролет в главном здании и улучшаются условия труда в нем, не требуются межцеховые шлаковозы.
Шлаковозы.
Применяемые для вывоза шлака серийные несамоходные шлаковозы, перемещаемые по железнодорожным путям, они имеют шлаковый ковш объемом 16 м3.
Несамоходный шлаковоз (рис. 7) выполнен в виде цельносварной платформы 7 с двумя ходовыми тележками 1. К платформе приварены лафеты 6, на которые через цапфы 5 опирается опорное кольцо 4, служащее для установки ковша 3. Одна из цапф связана с механизмом кантования 2, с помощью которого поворачивают кольцо и ковш для слива шлака.

Рисунок 7. – Несамоходный шлаковоз
Ширококолейные шлаковозы являются самоходными, представляя собой рельсовую тележку, схожую по устройству со сталевозом. Выпускают шлаковозы, рассчитанные на установку одного ковша объемом 16м3, двух ковшей по 16м3, одного ковша объемом 30м3. На шлаковозах предусматривают также установку коробов для мусора (рис. 8). Применение ковшей емкостью 30 м3 сокращает длительность слива шлака, поскольку не требуется прерывать слив после наполнения малого ковша и передвигать шлаковоз, подавая следующий.

1 —тележка; 2 — стационарный скребок; 3— короб для мусора; 4— шлаковый ковш; 5 — подъемный скребок
Рисунок 8. Самоходный шлаковоз с двумя шлаковыми ковшами
Шлаковый двор (отделение).
В практике шлак из конвертерных цехов вывозят в шлаковые отделения, где опорожняют шлаковые ковши. Одна из разновидностей шлаковых отделений показана на рис. 9.

1 — шлаковоз; 2 — платформа для отгрузки застывшего шлака; 3— установка для удаления насты лен из ковша
Рисунок 9. – Шлаковое отделение
Отделение представляет собой оборудованную мостовыми кранами траншею, по бокам которой проходят рельсовые пути для подачи шлаковозов и платформ, в которых вывозят застывший шлак. Шлак выливают в траншею путем наклона ковшей. Для удаления настылей шлака создана специальная установка 1 . Ковш опрокидывают с помощью специального стенда и на его дно сверху краном устанавливают вибратор, благодаря которому отделяются настыли. Застывший шлак из траншеи загружают в платформы грейферным краном (или экскаватором) и вывозят на переработку.
Подготовка и ремонт ковшей
Для межплавочной подготовки и ремонта сталеразливочных ковшей в отечественных цехах с большегрузными конвертерами предусматривают специальный пролет (в зарубежных цехах ковши готовят в разливочном и других пролетах главного здания и иногда в отдельно стоящих отделениях). .Пролет подготовки ковшей проектируют с учетом использования ковшей с монолитной футеровкой и шиберными затворами. Пролет оборудуют мостовыми кранами, ямами, специальными стендами и оборудованием для обслуживания ковшей, участками хранения и приготовления огнеупорных масс и иногда приготовления шиберных затворов.
Подготовку и ремонт ковшей организуют так, что отдельные операции выполняют на специализированных стендах, а ковш в процессе подготовки транспортируют со стенда на стенд мостовым краном. На рис. 10, а показана одна из применяемых схем межплавочной подготовки ковшей. После окончания разливки из ковша 2 с помощью крана 1 сливают шлак в шлаковый ковш (чашу) 3 и затем ковш на сталевозе 4 транспортируют из ОНРС в пролет подготовки ковшей. Ковш краном устанавливают на стенд 5, оборудованный охлаждающим устройством 6; последнее представляет собой опускаемую на ковш крышку с патрубком, по которому подают вентиляторный воздух. После охлаждения футеровки ковш устанавливают на высокий стенд 7, оборудованный манипулятором 8 для снятия и установки шиберных затворов и устройством 9 для выдавливания стаканов. После снятия шиберного затвора и выдавливания стакана ковш устанавливают на поворотный стенд 11, где осматривают футеровку и удаляют скрап и остатки шлака с помощью кислорода в короб 10.
Далее ковш возвращают на высокий стенд, где устанавливают новый шиберный затвор и проверяют его работу с помощью устройства 13. В ковш опускают кессон 12, с помощью которого устанавливают стакан и уплотняют гнездо, после чего ковш переносят на стенд 14, оборудованный устройством 15 для сушки и разогрева ковша (опускаемая на ковш крышка с газовой горелкой). Разогретый ковш ставят на сталевоз 4 и транспортируют к конвертеру.
Схема работ при ремонте футеровки, включающем замену рабочего слоя, отличается от показанной на рис. 10, а тем, что вместо операций, выполняемых на стенде 11, делают работы, показанные на рис. 34, б. Вначале, как и при межплавочной подготовке, сливают шлак, охлаждают ковш, удаляют шиберный затвор и стакан 1—9 (рис. 10, а). Затем выполняют работы, изображенные на рис. 34, б: ковш устанавливают на поворотный стенд 18 и удаляют изношенную футеровку с помощью машины 16; бой футеровки попадает в короб 17. Потом ковш устанавливают в яму 20 и выполняют новый набивной слой футеровки с помощью машины 19. Дальнейшие операции — установку стакана и шиберного затвора и разогрев ковша — выполняют так же, как и при межплавочной подготовке 12—15 (рис. 10, а).

Рисунок 10. – Схема межплавочной подготовки (а) и ремонта (б) сталеразлнвочных ковшей
Машина для ломки футеровки (рис. 11).
изготовлена на базе серийно выпускаемого экскаватора и имеет гусеничную опорно-ходовую тележку 1, поворотную платформу 2, на которой размещены телескопическая стрела 5 и привод 3. Наклон стрелы вверх и вниз осуществляется гидроцилиндром 4. На конце стрелы 5 шарнирно закреплен рабочий ударный орган пневмоударник 7, который можно наклонять с помощью гидроцилиндра 6.
Поворотный стенд выполнен в виде кольцевой рамы, снабженной двумя цапфами, которыми она опирается на подшипники двух опорных стоек. Одна из цапф соединена с приводом, обеспечивающем вращение рамы. Ковш устанавливают в раму и закрепляют с помощью автоматических захватов.
Рисунок 11 – Машина для ломки футеровки
Машины для изготовления монолитной футеровки ковшей.
В практике наиболее распространены выполняющие набивную футеровку машины с пескометной головкой. Основой машины является портал, перемещающийся над ямой, куда ставят ремонтируемый ковш. На портале смонтирован бункер для огнеупорной массы и поворотная платформа, которую можно перемещать внутри ковша вверх и вниз. На платформе размещены пескометная головка и шаблон. Подаваемая из бункера огнеупорная масса выбрасывается пескометной головкой в зазор между шаблоном и арматурным слоем футеровки ковша, при этом шаблон и головка постепенно перемещается снизу вверх по винтовой линии.
