Этот процесс связан, в первую очередь, с предотвращением попадания окислительного шлака в ковш при совместном выпуске металла и шлака или при недостаточном ограничении попадания шлака в сталеразливочный ковш при использовании даже печей с донным или сифонным выпуском стали. Количество попадающего печного шлака в ковш при эркерном выпуске стали из ДСП неопределенно и сопоставимо с количеством ТШС, используемых для наведения десульфурирующего шлака (1-2% от массы плавки) при внепечной обработке в АКОС. Это обстоятельство затрудняет или делает невозможной воспроизводимую (повторяемую по результатам) рафинирующую обработку стали в АКОС до низкого содержания серы и неметаллических включений в пределах технологического времени, обеспечивающего заданную высокую производительность производственного комплекса. В связи с этим появляется необходимость при производстве низкосернистого металла обязательного удаления печного шлака из ковша перед внепечной обработкой металла.
Для удаления фосфора необходимо иметь высокий кислородный потенциал, за счет присутствия окислительного шлака, содержащего 12-20% FeO, высокую основность шлако (СаО/SiO2 £1,8), развитую реакционную поверхность между жидкой сталью и шлаком и возможно низкую температуру процесса. При внепечном рафинировании стали, когда необходимо провести глубокую десульфурацию, требования к условиям процесса десульфурации практически противоположны. Для десульфурации необходимо иметь шлак основностью 2,2-2,4, низкий кислородный потенциал, обеспечиваемый содержанием FeO в шлаке £1,5%, высокую температуру. Эти условия в значительной мере благоприятствуют рефосфорации, т.е. обратному переходу фосфора в металл. Поэтому вопросы удаления печного шлака окислительного периода из ковша являются актуальными, особенно для печей с желобным выпуском стали. При выпуске стали вместе со шлаком в ковше может произойти восстановление оксидов фосфора элементами раскислителями. В среднем содержание Р2О5 в конвертерных шлаках, выплавляющих сталь с использованием обычных передельных чугунов составляет 2,5% и с применением высокофосфористых чугунов содержание Р2О5 в конвертерных шлаках может достигать 10%. Поэтому каждые 90 кг обычного конвертерного шлака могут привести к рефосфорации 0,001% Р. Эти данные свидетельствуют о негативном влиянии окислительного шлака в ковше на качество стали. Поэтому необходимо или выпускать металл без шлака или удалять шлак из ковша, чтобы уменьшить массообмен между металлом и шлаком при обработке стали в ковше. В некоторых случаях перед раскислением металла необходимо проводить дополнительную дефосфорацию стали. Вопросы рефосфорации злободневны также при выплавке стали в ДСП одношлаковым процессом.
Предотвращение и уменьшение контакта металла и шлака и удаление шлака может осуществляться различными способами. На современных ДСП, оборудованных сифонным или донным выпуском стали, можно практически полностью предотвратить попадание окислительного шлака в ковш при работе ДСП с остатком жидкого металла в печи до 10%. Этот прием называют работа печи на «болоте жидкого металла». Однако, в большинстве случаев в электросталеплавильном производстве и, особенно, в литейных цехах выпуск стали в ковш ведется со шлаком через желоб. Поэтому необходимо рассмотреть мероприятия по уменьшению или предотвращению попадания шлака в сталеразливочный ковш. Предотвратить попадание шлака в ковш можно несколькими способами. Первый способ заключается в прекращении выпуска стали при выходе первых порций шлака. Этот способ является простым, однако технологически нежелательный, т.к. приводит к заростанию выпускного отверстия и выходу части шлака в печной приямок, что вызывает необходимость дополнительного обслуживания печи. Второй способ заключается в переливе стали из одного ковша в другой с отсечкой шлака. Этот способ применим как для конвертерной плавки, так и при плавке стали в ДСП. Однако, при этом происходит снижение температуры металла для 100-тонного предварительно разогретого ковша на 25-400С, что требует перегрева металла в печи.
Оригинальный способ предложен японскими инженерами (рис.1). Короб цилиндрической фурмы, футерованный изнутри и снаружи, подвешивается к поддерживающей подвеске (1). В начале выпуск стали производится непосредственно в ковш (3), а затем в конце выпуска сверху на ковш устанавливается подвеска и струя стали попадает в короб. В коробе имеется отверстие, которое закрыто огнеупорной пробкой шаровидной формы (4). По мере наполнения короба пробка всплывает, обеспечивая сообщение стали в ковше и коробе, шлак остается в коробе. После окончания разливки короб краном поднимается, сталь из короба вытекает в ковш через отверстие. При выходе стали понижается уровень шлака и опускается пробка, которая перекрывает отверстие в коробе, предотвращая попадание шлака в кош.
Рис.1. Схема установки по отсечке шлака: 1 – подвеска с цилиндрическим футерованным коробом; 2 – шлак; 3 – сталеразливочный ковш; 4 – огнеупорная пробка; 5 – сталь
Наиболее распространенным вариантом, обеспечивающим минимальное время контакта со шлаком, является скачивание шлака из ковша после выпуска стали. Этот способ применяется практически всегда перед внепечной обработкой стали вакуумом или рафинировании и легировании стали в ковше. Скачивание шлака производится на специальном стенде механическим способом с помощью гребков. В течение 5 мин удаляется до 90% шлака. При этом температура металла снижается на 200С и степень рефосфорации не превышает 15%. Так при переливе 90 т конструкционной стали содержание фосфора изменилось с 0,012 до 0,014%. При этом способе высота сталеразливочного ковша должна быть увеличена на 1 м.
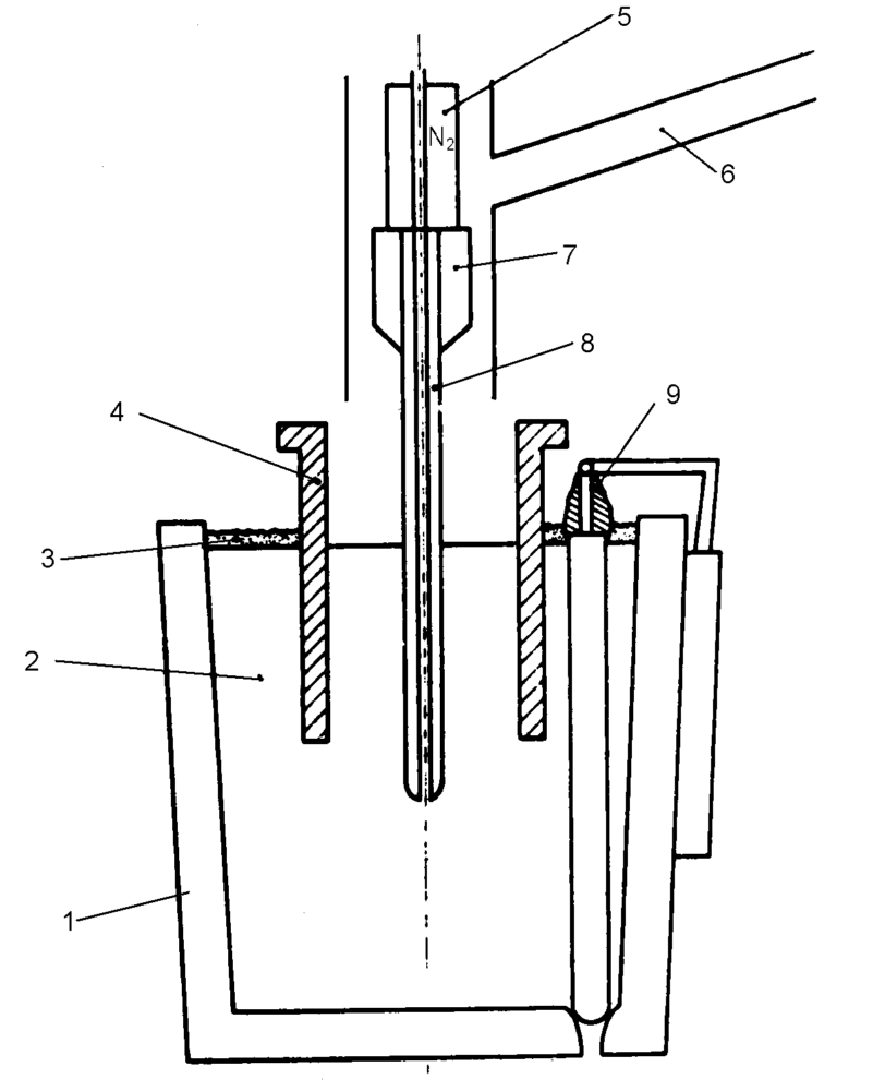
Как отмечалось ранее, вопросы удаления окислительного шлака и, естественно, рефосфорации должны учитываться, особенно, при внепечном раскислении стали. Степень рефосфорации можно снизить путем ограничения времени и площади контакта металл-шлак. Это можно осуществить путем загущения шлака или путем ввода раскислителей и легирующих непосредственно в сталь без контакта со шлаком. На рис.2 представлена схема, которая позволяет осуществить эти операции.

Рис.12.42. Схема погружного устройства системы ARBED: 1 – ковш; 2 – металл; 3 – шлак; 4 – цилиндр из огнеупорного материала; 5 – противовес; 6 – канал для подачи добавок; 7 – защитный кожух фурмы; 8 – футерованная фурма; 9 – огнеупорная обмазка стопорного узла
В ковш (1) после выпуска металла со шлаком вставляется цилиндр (4) из огнеупорного материала закрытый снизу стальным дном. По мере погружения цилиндра в ковш шлак выдавливается по краям цилиндра, а тонкое стальное днище расплавляется и сталь заполняет цилиндр. С помощью специального устройства (6) добавки (раскислители и легирующие) попадают непосредственно на поверхности металла, погружаясь на определенную глубину. Растворение добавок интенсифицируется путем продувки стали инертным газом через футерованный фурменный узел (6, 7, 8). Для предотвращения повреждения стопорного устройства (9) производится обмазка его верхней части огнеупорной глиной. Степень рефосфорации при этом не превышает 15%. При производстве стали с низким содержанием фосфора (Р
Во время выпуска подают под струю металла дефосфорирующую смесь, состав которой может быть следующим: известь – 2,7-6 кг/т, железная руда – 2,7-4 кг/т, плавиковый шпат – 0-0,3 кг/т. Для улучшения перемешивания по стенкам ковша в средней его части располагают несколько деревянных брусьев, сгорание которых способствует ускорению процесса дефосфорации при подаче шлаковой смеси под струю. Обработка конструкционной стали весом 75 т в ковше позволила снизить содержание фосфора с 0,015 до 0,012-0,008%. Лучшие результаты получены при использовании смеси, состоящей из всех трех компонентов с интенсификацией процесса за счет горения деревянных брусьев. Через 2-3 минуты можно приступить к операции раскисления и легирования.
